INFO: Dieses Forum nutzt Cookies...
Cookies sind für den Betrieb des Forums unverzichtbar. Mit der Nutzung des Forums erklärst Du dich damit einverstanden, dass wir Cookies verwenden.

Es wird in jedem Fall ein Cookie gesetzt um diesen Hinweis nicht mehr zu erhalten. Desweiteren setzen wir Google Adsense und Google Analytics ein.


Antwort schreiben 

Was sieht man auf diesem Bild?



Wenn dein Problem oder deine Frage geklärt worden ist, markiere den Beitrag als "Lösung",
indem du auf den "Lösung" Button rechts unter dem entsprechenden Beitrag klickst. Vielen Dank!

06.01.2014, 11:22 (Dieser Beitrag wurde zuletzt bearbeitet: 18.03.2021 15:47 von Y-P.)
Beitrag #261

Y-P Offline
☻ᴥᴥᴥ☻ᴥᴥᴥ☻
LVF-Team

Beiträge: 12.612
Registriert seit: Feb 2006

Developer Suite Core -> LabVIEW 2015 Prof.
2006
EN

71083
Deutschland
RE: Was sieht man auf diesem Bild?
Bin mal gespannt, ob das (noch) jemand kennt:

Gruß Markus

--------------------------------------------------------------------------
Bitte stellt mir keine Fragen über PM, dafür ist das Forum da - andere haben vielleicht auch Interesse an der Antwort !!
--------------------------------------------------------------------------
Alle Beiträge dieses Benutzers finden
Diese Nachricht in einer Antwort zitieren to top
Anzeige
06.01.2014, 11:24
Beitrag #262

GerdW Offline
______________
LVF-Team

Beiträge: 17.540
Registriert seit: May 2009

LV2019 (LV2021)
1995
DE_EN

10×××
Deutschland
RE: Was sieht man auf diesem Bild?
Sieht nicht aus wie TGACCRR... Big Grin

Alle Beiträge dieses Benutzers finden
Diese Nachricht in einer Antwort zitieren to top
06.01.2014, 12:52
Beitrag #263

eb Offline
LVF-Lernwilliger
***


Beiträge: 292
Registriert seit: Mar 2008

2014
2008
EN

12xxx
Deutschland
RE: Was sieht man auf diesem Bild?
Moin,

ich wusste ich kenn das... musste aber doch ein wenig googlen: Stunt Car Racer (1989)
   

Gruß eb
Alle Beiträge dieses Benutzers finden
Diese Nachricht in einer Antwort zitieren to top
06.01.2014, 13:10 (Dieser Beitrag wurde zuletzt bearbeitet: 06.01.2014 13:11 von Y-P.)
Beitrag #264

Y-P Offline
☻ᴥᴥᴥ☻ᴥᴥᴥ☻
LVF-Team

Beiträge: 12.612
Registriert seit: Feb 2006

Developer Suite Core -> LabVIEW 2015 Prof.
2006
EN

71083
Deutschland
RE: Was sieht man auf diesem Bild?
Richtig. Top2
Das hat man zu Amiga 500 - Zeiten stundenlang gespielt.

EDIT: Du darfst. Big Grin

Gruß Markus

(06.01.2014 12:52 )eb schrieb:  Moin,

ich wusste ich kenn das... musste aber doch ein wenig googlen: Stunt Car Racer (1989)


Gruß eb

--------------------------------------------------------------------------
Bitte stellt mir keine Fragen über PM, dafür ist das Forum da - andere haben vielleicht auch Interesse an der Antwort !!
--------------------------------------------------------------------------
Alle Beiträge dieses Benutzers finden
Diese Nachricht in einer Antwort zitieren to top
06.01.2014, 17:13
Beitrag #265

eb Offline
LVF-Lernwilliger
***


Beiträge: 292
Registriert seit: Mar 2008

2014
2008
EN

12xxx
Deutschland
RE: Was sieht man auf diesem Bild?
Hallo,

nun aber: Was sieht man hier?
(ist vielleicht zu einfach) Smile

   

Gruß
eb
Alle Beiträge dieses Benutzers finden
Diese Nachricht in einer Antwort zitieren to top
06.01.2014, 23:00
Beitrag #266

GerdW Offline
______________
LVF-Team

Beiträge: 17.540
Registriert seit: May 2009

LV2019 (LV2021)
1995
DE_EN

10×××
Deutschland
RE: Was sieht man auf diesem Bild?
Hallo eb,

lief das im ZDF ca. 1980?

Alle Beiträge dieses Benutzers finden
Diese Nachricht in einer Antwort zitieren to top
Anzeige
07.01.2014, 09:46 (Dieser Beitrag wurde zuletzt bearbeitet: 07.01.2014 09:47 von Schwand.)
Beitrag #267

Schwand Offline
LVF-Stammgast
***


Beiträge: 276
Registriert seit: Nov 2007

2014
2006
DE

31789
Deutschland
RE: Was sieht man auf diesem Bild?
"Hoch damit und raus mit ihnen...Volle Energie und fertig ist die Ramrod Infanterie!"

War damals ne super Sache!
Alle Beiträge dieses Benutzers finden
Diese Nachricht in einer Antwort zitieren to top
07.01.2014, 09:50
Beitrag #268

eb Offline
LVF-Lernwilliger
***


Beiträge: 292
Registriert seit: Mar 2008

2014
2008
EN

12xxx
Deutschland
RE: Was sieht man auf diesem Bild?
Hallo,

guten Morgen. Ja, Schwand hat voll getroffen. Ich gehe davon aus, das der Name der Serie auch bekannt ist. Es war "Sabre Rider".
Schwand, du darfst nun das nächste Rätsel stellen.

Gruß eb
Alle Beiträge dieses Benutzers finden
Diese Nachricht in einer Antwort zitieren to top
08.01.2014, 14:35
Beitrag #269

eb Offline
LVF-Lernwilliger
***


Beiträge: 292
Registriert seit: Mar 2008

2014
2008
EN

12xxx
Deutschland
RE: Was sieht man auf diesem Bild?
Hallo,

nachdem Schwand noch nicht geantwortet hat, und das letzte Rätsel auch zu einfach war (Ramrod aus der Zeichentrickserie Sabre Rider), kommt jetzt etwas Schwieriges so hoffe ich!

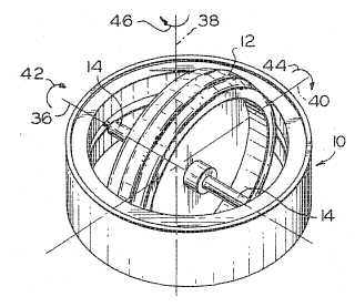
Was ist das?
   

Gruß
eb
Alle Beiträge dieses Benutzers finden
Diese Nachricht in einer Antwort zitieren to top
08.01.2014, 14:43
Beitrag #270

Y-P Offline
☻ᴥᴥᴥ☻ᴥᴥᴥ☻
LVF-Team

Beiträge: 12.612
Registriert seit: Feb 2006

Developer Suite Core -> LabVIEW 2015 Prof.
2006
EN

71083
Deutschland
RE: Was sieht man auf diesem Bild?
Ist das zum Obst zermanschen für Wein oder Most? Unsure

Gruß Markus

--------------------------------------------------------------------------
Bitte stellt mir keine Fragen über PM, dafür ist das Forum da - andere haben vielleicht auch Interesse an der Antwort !!
--------------------------------------------------------------------------
Alle Beiträge dieses Benutzers finden
Diese Nachricht in einer Antwort zitieren to top
30
Antwort schreiben 


Gehe zu: